车域深探者讯 据外媒报道,Rivian提交了一份有关加热透镜的专利,该技术旨在减少汽车灯具上的沉积物。据专利文件描述,“在汽车系统中,不同的汽车灯用于提供照明,在夜间和低光照条件下,此类灯具能够照亮周围的环境。车灯不仅可以帮助驾驶员看请周围环境,还可以帮助传感器收集数据。”
Rivian专利图(图片来源:repairerdrivennews.com)
但是,有时,雪、冰、雨水或雾气可能会积聚在包括聚碳酸酯镜片在内的车灯透镜上。该专利指出:“此类沉积物会遮挡或降低车灯的照明效果。对于发光二极管(LED)灯而言,此类问题可能更加复杂,因为与卤素灯相比,LED灯产生的热量更少,因此更易积聚雪和冰。”
该专利表示,解决该问题的传统方法是在透镜上布置电线,并通过电线加热透镜。但是,电线可能会进一步阻碍灯光通过。
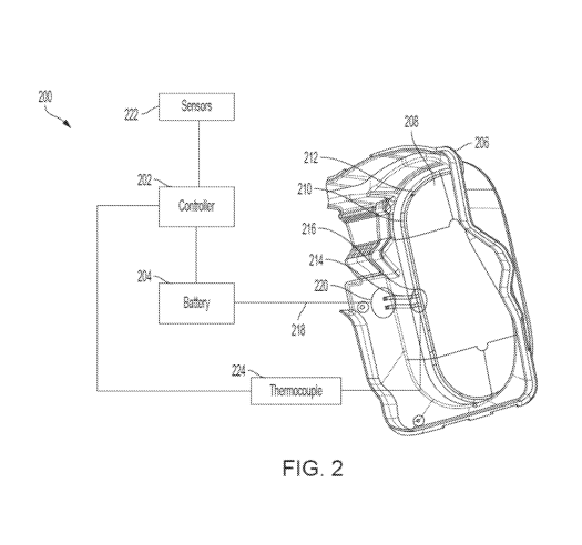
该专利指出,碳纳米管层(可能包括薄膜层)可以放置在透镜的其他材料层之间,以及一个加热元件,例如用于传导电流的电线或一个母线,特别是银母线。专利文件表示:“通过加热与前大灯中碳纳米管层相连的加热元件,碳纳米管层可将热量传输至前大灯中的其他层。此种热量的传递可能导致沉积物消散或从透镜表面滑落,从而确保该前大灯能够无障碍地发光。”
该专利还补充表示,因为该碳纳米管是透明的,因此其不会阻挡前大灯的光。传感器可以获取有关天气状况的数据,例如探测是否在下雪。然后控制器则可以启动加热元件来做出响应,还可以向电池放电或释放能量,或者停止电池向加热元件供电或释放能量。此外,该碳纳米管还可以集成至挡风玻璃、车窗、后视镜或者汽车外壳中。


